Bosch Upright Freezer,help fitting new drawer flap

Home Forums Public Support Forums Help And Support Fridge And Freezer Forum Bosch Upright Freezer,help fitting new drawer flap

Viewing 6 posts - 1 through 6 (of 6 total)
  • Author
    Posts
  • #90375
    Jockthefirst
    Participant

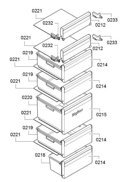
    Hi I have a Bosch Upright Freezer E-Nr number GSN33VW30G/03 , I managed to break the original drawer flap so ordered another direct from Bosch (part number 0078732) shown as item 0212 in the diagram below.

    I’m struggling to fit the new flap onto it’s mountings which are items 0232 & 0233 shown in the diagram.The mountings each have a horizontal pin which fits inside a hollow section at the bottom corners of the flap. The problem is that the drawer flap is too wide to fit onto the mounting pins on items 0232 & 0233.

    I checked the manual but couldn’t find instructions. I rang Bosch customer care who advised that I should contact MKS-Spares@bshg.com who were unable to offer any guidance.

    Can anybody give me any help re fitting a new upper drawer flap to this bosch upright freezer or advise where I might find some instructions?

    Any help would be really appreciated.

    #444584
    clivejameson
    Participant

    Re: Bosch Upright Freezer,help fitting new drawer flap

    Not sure on this model but some you can dismount the bearers from the liner usually with just one screw but most these days are bonded on. If thats the case then the only option is to carefully flex the flap to get it in.

    Have a good look at the bearers and see if you can see how they attach to the liner…post a pic if you are unsure?

    #444585
    Jockthefirst
    Participant

    Re: Bosch Upright Freezer,help fitting new drawer flap

    Thank you for taking time to respond clivejameson.

    Photographs of the left hand & right hand bearer below, items 0232 & 0233 in the diagram in the original post. I can’t see a fixing screw to remove them.

    I measured the drawer flap and it’s 385 mm long, the distance between the pins on the bearers is 370 mm, 2 photos below show that.

    The next two photographs show the drawer flap pushed up as far as it will go on the right hand bearer & once in this position how the left hand bearer / left hand corner of the flap looks (hard to manipulate the bearer pin inside the drawer flap without damaging either the drawer or the bearer.

    #444586
    clivejameson
    Participant

    Re: Bosch Upright Freezer,help fitting new drawer flap

    It’s quite possible the bearers are a slide fit to the liner with a hidden barb holding them in place. Best bet is wait for one of the BSH (bosch) guys to come along…they may well know….

    #444587
    Jockthefirst
    Participant

    Re: Bosch Upright Freezer,help fitting new drawer flap

    clivejameson you Sir are a Gent, the bearers are indeed slide fit & there is a small plastic barb that needs to be lifted out to fit the bearer all fixed now.

    Thank you once again.

    You can see the circular bearer barb partially removed at the bottom of the bearer in the photo below.

    Next photo shows the bearer removed and the barb location on the freezer itself.

    Last photo shows the new freezer door flap fitted, Cheers clivejameson!

    #444588
    clivejameson
    Participant

    Re: Bosch Upright Freezer,help fitting new drawer flap

    :tup: 8)

Viewing 6 posts - 1 through 6 (of 6 total)
  • You must be logged in to reply to this topic.